
一些小伙伴在给win7纯净版系统电脑加内存条时,发现内存条上有个DDR字样,这代表什么意思呢?电脑中所有程序的运行都在内存中进行,所以内存的性能影响着电脑运行。今天爱纯净小教分享下内存条DDR的相关内容。
内存条ddr代表什么意思:
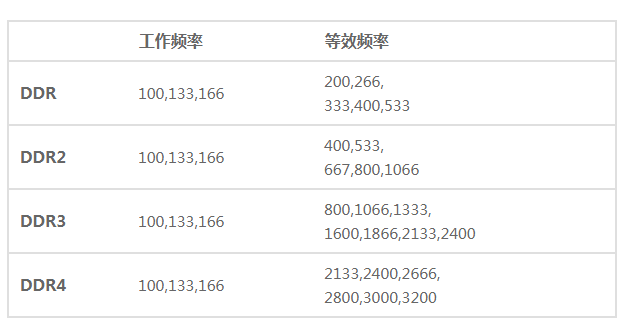
第一步:DDR内存全称是DDR SDRAM(Double Data Rate SDRAM,双倍速率同步动态随机存储器,是从SDRAM基础上发展出来的全新系列,DDR运行频率主要有100MHz、133MHz、166MHz三种。

第二步:DDR内存则是一个时钟周期内传输两次数据,能够在时钟的上升期和下降期各传输一次数据,因此称为双倍速率同步动态随机存储器。DDR内存可以在与SDRAM相同的总线频率下达到更高的数据传输率。

第三步:DDR本质上不需要提高时钟频率就能加倍提高SDRAM的速度,它允许在时钟脉冲的上升沿和下降沿读出数据,因而其速度是标准SDRAM的两倍。

第四步:DDR内存仍然沿用SDRAM生产体系,因此对于内存厂商而言,只需对制造普通SDRAM的设备稍加改进,即可实现DDR内存的生产,可有效的降低成本。
第五步:DDR内存的工作电压也在不断降低,DDR内存工作电压是2.5V,DDR2是1.8V,DDR3是1.5V,DDR4则是降到了1.2V。估计到DDR5可能会降低到1V,内存电压的降低有助于更好的节能。

教你如何看内存ddr几代
通常是通过外观卡槽缺口位置来进行区分,或者是通过主板上的插槽来进行区分。在长度上,DDR系列的内存一直沿用着第一代的长度没有做改变,也就是133.35±0.15mm,变化的部分是针脚的数量和间隔,DDR内存针脚数为184个,DDR2和DDR3针脚为240个,DDR4针脚为284个。

关于内存条ddr代表什么意思就简单介绍到这里了。更多教程关注爱纯净。
| 留言与评论(共有 条评论) |